Здравствуйте!
Недавно установил в хрущевке новые заказные деревянные окна в замен не закрывающихся советских.
Теперь из-за их герметичности дымоход от колонки стал при закрытых окнах перетягивать вентканал с/узла, таща за собой соседские ароматы.
Держать все время форточку открытой в мороз не хочется.
Окна сделаны двухрамными на финский манер, в связи с этим возник вопрос, можно ли установить клапаны таким образом, чтобы козырек был на внешней раме, сам клапан на внутренней, и сообщались они через фрезерованные щели в рамах и воздушную прослойку в "междурамье". Примерно попытался изобразить идею на рисунке.
Не возникнет каких-либо проблем с эксплуатацией такой конструкции (например обмерзание стекол изнутри рамы, запотевание и т.п.?). Или может быть такая установка вообще не жизнеспособна, и стоит повесить клапан на внешнюю раму, а внутреннюю всё время держать открытой?
Совместимость с двухрамным деревянным окном
Совместимость с двухрамным деревянным окном
- Вложения
-
- двухрамное окно на финский манер
- window-aereco.jpg (36.06 КБ) 124930 просмотров
Re: Совместимость с двухрамным деревянным окном
Добрый день!ugeene писал(а):Здравствуйте!
Недавно установил в хрущевке новые заказные деревянные окна в замен не закрывающихся советских.
Теперь из-за их герметичности дымоход от колонки стал при закрытых окнах перетягивать вентканал с/узла, таща за собой соседские ароматы.
Держать все время форточку открытой в мороз не хочется.
Окна сделаны двухрамными на финский манер, в связи с этим возник вопрос, можно ли установить клапаны таким образом, чтобы козырек был на внешней раме, сам клапан на внутренней, и сообщались они через фрезерованные щели в рамах и воздушную прослойку в "междурамье". Примерно попытался изобразить идею на рисунке.
Не возникнет каких-либо проблем с эксплуатацией такой конструкции (например обмерзание стекол изнутри рамы, запотевание и т.п.?). Или может быть такая установка вообще не жизнеспособна, и стоит повесить клапан на внешнюю раму, а внутреннюю всё время держать открытой?
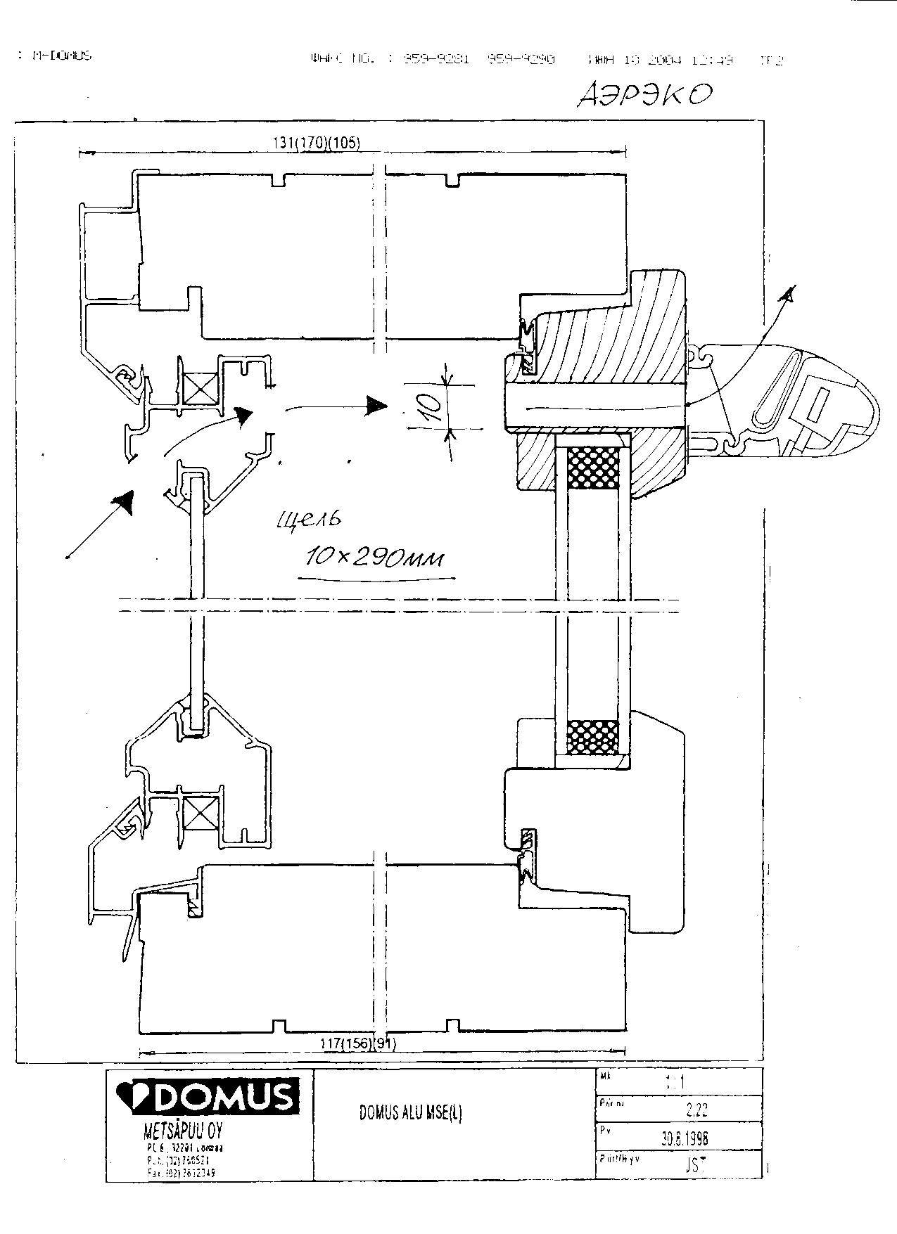
Ваша идея вполне корректна. Примерно так и происходит монтаж наших клапанов на двухрамку.
Посмотрите, как это реализуется
Вопрос с установкой разъемного переходника между рамами, чтобы приточный воздух не "гулял" между стекол, неоднозначный. В плане подстраховки мы всем рекомендуем его ставить. Хуже не будет. Но в представительстве АЭРЭКО стоят двухрамные окна с клапанами ЕММ и никаких переходников не стоит. Оставили так для эксперимента. Пережили так несколько зим, включая -32 градуса в январе 2006 года. Полет нормальный, ничего не потело и не обмерзало. Можно приехать и посмотреть.
Re: Совместимость с двухрамным деревянным окном
Отлично, спасибо за ответ!
Подскажите, у кого в Воронеже можно приобрести Aereco?
Навскидку обзвонил около 10 оконных фирм и вентиляционщиков - все только руками разводят.
Еще вопрос: как клапаны относятся к плотным шторам, закрывающим окно?
Подскажите, у кого в Воронеже можно приобрести Aereco?
Навскидку обзвонил около 10 оконных фирм и вентиляционщиков - все только руками разводят.
Еще вопрос: как клапаны относятся к плотным шторам, закрывающим окно?
Re: Совместимость с двухрамным деревянным окном
Добрый день!
Пожалуйста, напишите мне в электронку (см.ниже) свой контактный телефон.
Я Вам сообщу, где можно приобрести и/или установить приточные устройства Aereco в Вашем городе.
С уважением,
Бенделиков Дмитрий Владиславович
менеджер отдела регионального развития
Представительства АО "АЭРЭКО" в РФ
тел/факс: +7 (495) 921-3612
bendelikov@aereco.ru
Пожалуйста, напишите мне в электронку (см.ниже) свой контактный телефон.
Я Вам сообщу, где можно приобрести и/или установить приточные устройства Aereco в Вашем городе.
С уважением,
Бенделиков Дмитрий Владиславович
менеджер отдела регионального развития
Представительства АО "АЭРЭКО" в РФ
тел/факс: +7 (495) 921-3612
bendelikov@aereco.ru
